Главная Новости События Обзоры Объективы Статьи Магазин Форум Поиск
Twitter Facebook rss-лента

Nikon запатентовал два полнокадровых беззеркальных объектива: 52мм F0.9 и 36мм F1.2

09.09.2017

Компания Nikon запатентовала два новых полнокадровых объектива для беззеркальных камер: Nikon 52мм F0.9 и 36мм F1.2.

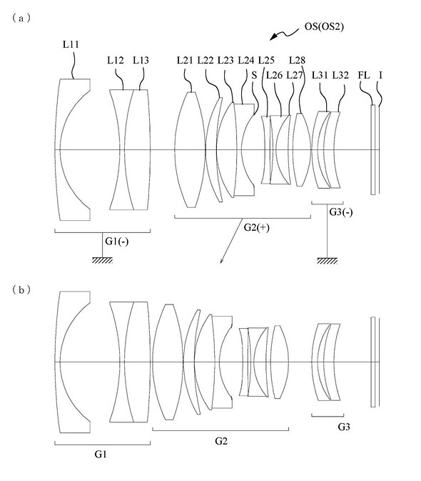
Японский ресурс hi-lows-note опубликовал диаграммы, демонстрирующие оптические схемы запатентованных объективов.

Оптическая схема 52мм F0.9:

Схема 36мм F1.2:

Надо отметить, что это не первые запатентованные полнокадровые беззеркальные объективы Nikon: один зум-объектив для полнокадровых беззеркалок был запатентован еще в 2014 и еще один ранее в этом году. Данные новости дают новую надежду на то, что Nikon в скором времени выпустит собственную полнокадровую беззеркальную камеру.

Предыдущая новость | Следующая новость | Вернуться к списку новостей
Оставить комментарий

Популярные обзоры

Обзоры

30.10.2020  Пять камер для видеоблогеров в 2020
24.10.2020  Fujifilm X-S10: Первые впечатления
18.10.2020  Nikon Z6 II и Z7 II: какие обновления получили полнокадровые беззеркалки серии Z
09.10.2020  Как создать портрет с красивым боке
30.09.2020  Постоянный свет в студии для фото- и видеосъемки
Все обзоры:
По дате По бренду Награды

Последние темы форума

Перейти на форум
Главная Новости События Обзоры Объективы Статьи Магазин Форум Поиск
7777777777777