Главная Новости События Обзоры Объективы Статьи Магазин Форум Поиск
Twitter Facebook rss-лента

Патент Google на камеру, встроенную в бейсболку

03.03.2017

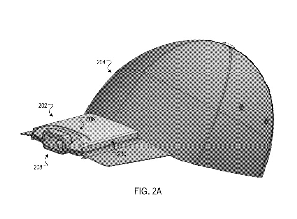
Google оформил патент на бейсболку со встроенной камерой, соединенной с мобильным устройством, для съемки и живой трансляции различных событий. Несмотря на то, что бейсболка может показаться довольно странным выбором, сама идея выглядит очень логичной для осуществления различных прямых трансляций и создания снимков от первого лица.

Система включает камеру, динамик, который транслирует аудиосигнал пользователю посредством костной проводимости, модуль, использующий вибрацию для того, чтобы направить внимание пользователя в нужную сторону, микрофон и встроенную батарею.

Данная технология может найти различное применение. Наиболее очевидный способ - съемка и отправка контента через мобильное приложение или трансляция в прямом эфире. В патенте также отмечено, что система может быть использована для более утилитарных вещей, таких как получение удаленной помощи (например, работник на удаленном объекте может получать инструкции из центра поддержки на основании живой видеозаписи).

Будет ли патент применен в каком-либо продукте, и будет ли продукт в итоге основан на бейсболке в данный момент неизвестно. Однако, безусловно, эта простая идея вполне может найти свое применение на практике.

Предыдущая новость | Следующая новость | Вернуться к списку новостей
Оставить комментарий

Популярные обзоры

Обзоры

30.10.2020  Пять камер для видеоблогеров в 2020
24.10.2020  Fujifilm X-S10: Первые впечатления
18.10.2020  Nikon Z6 II и Z7 II: какие обновления получили полнокадровые беззеркалки серии Z
09.10.2020  Как создать портрет с красивым боке
30.09.2020  Постоянный свет в студии для фото- и видеосъемки
Все обзоры:
По дате По бренду Награды

Последние темы форума

Перейти на форум
Главная Новости События Обзоры Объективы Статьи Магазин Форум Поиск
7777777777777