Главная Новости События Обзоры Объективы Статьи Магазин Форум Поиск
Twitter Facebook rss-лента

Sony запатентовала 400мм F2.8 объектив для искривленной среднеформатной матрицы

21.07.2017

Компания Sony подала заявку на патент для 400мм F2.8 объектива для искривленной среднеформатной матрицы.

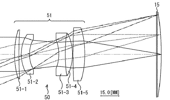
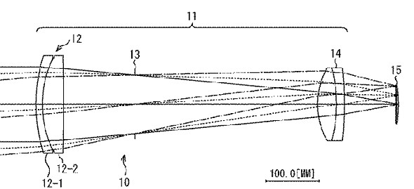
В патенте говорится об объективе, спроектированном для искривленной 645 матрицы — такая матрица больше, чем матрицы на Fuji GFX-50s и Hasselblad X1D-50c. Объектив имеет "единственный фокус" и "может использоваться как съемный сменный объектив”.

Ниже представлен ряд схем, в которых можно узнать об оптической схеме разработки. Объектив имеет очень простой дизайн, видимо, благодаря оптическим преимуществам скругленных матриц.

Как и со всеми патентами, неизвестно будет ли новая технология применена в каком-либо продукте, но факт того, что Sony работает в направлении среднеформатных и искривленных матриц, безусловно порадует всех интересующихся инновациями в цифровой фотографии.

Предыдущая новость | Следующая новость | Вернуться к списку новостей
Оставить комментарий

Популярные обзоры

Обзоры

30.10.2020  Пять камер для видеоблогеров в 2020
24.10.2020  Fujifilm X-S10: Первые впечатления
18.10.2020  Nikon Z6 II и Z7 II: какие обновления получили полнокадровые беззеркалки серии Z
09.10.2020  Как создать портрет с красивым боке
30.09.2020  Постоянный свет в студии для фото- и видеосъемки
Все обзоры:
По дате По бренду Награды

Последние темы форума

Перейти на форум
Главная Новости События Обзоры Объективы Статьи Магазин Форум Поиск
7777777777777